Måler du rigtigt – 1 af 2
Største parten af målerne lover også høj målenøjagtighed, og leveres med kalibreringscertifikater, som refererer til akkrediterede prøvestande. Certifikatet fortæller således at måleren, under referencebetingelser, udviser bestemte egenskaber – men hvad sker der egentlig når måleren placeres under forhold, som ikke svarer til dem der var på prøvestanden?
Måler den så rigtigt – og hvordan verificeres det, at måleresultatet er korrekt?
Funktionsprincippet
Den magnetiske flowmåler er baseret på Faraday’s lov om induktion, der lettere omskrevet siger følgende:
“Hvis man bevæger en elektrisk leder igennem et magnetfelt, så vil der vinkelret på lederens
bevægelsesretning opstå en spænding, der er ligefrem proportional med lederens bevægelseshastighed.”
Faraday’s lov: U =B*l*v, hvor –
U er den inducerede spænding
v er lederens hastighed
l er lederens længde
B er magnetfeltets styrke

Man skal lægge mærke til, at Faraday ikke stiller krav til, hvor god lederen skal være – men blot at den skal være ”elektrisk ledende”. I en magnetisk flowmåler er lederen væsken, dvs. den kan kun måle væsker der har en elektrisk ledningsevne – typisk skal denne være større end 5uS/cm.
Den magnetiske flowmåler er altså en hastighedsmåler, hvor omregningen til volumenflow forudsætter at hastighedsprofilet er veldefineret, og arealet i målerøret er kendt (det er de parametre som den individuelle kalibrering tager højde for) – sker der ændringer i forudsætningerne vil det forstyrre målingen!
Hvad kan forstyrre målingen
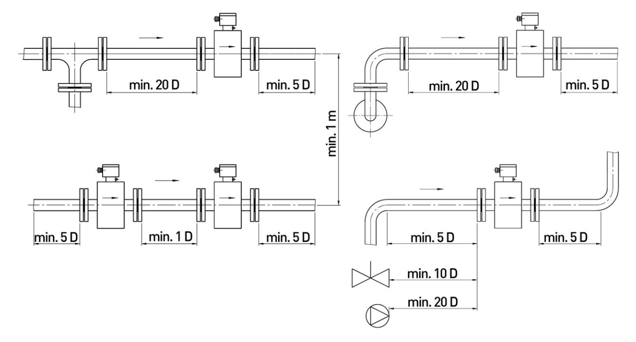
Når man taler om flowmåling gælder, for de fleste principper, at flowprofilet skal være veldefineret – helst symmetrisk – hvorfor der angives nogle forskrifter omkring målerens installation. Den mest almindelige angivelse definerer nogle anbefalede respektafstande til forskellige former for obstruktioner i rørføringen. Afstanden angives som et vist antal gange lige rørføring før og efter måleren, dvs. det antal gange før/efter måleren, hvor et lige rør i målerens dimension skal være monteret, for at man kan opnå et for måleprincippet veldefineret flowprofil.

For den magnetiske flowmåler er respektafstanden før måleren typisk 3-5 gange rørdiameteren og 2-3 gange bagved. Dette tal vil dog afhænge af hvordan installationen ser ud foran måleren, således vil dobbeltbøjninger, ventiler o.lign. stille øgede krav til afstanden, for at kunne ”rette” profilet op.
Udover hastighedsprofilet skal man, i den magnetiske flowmåler, også være opmærksom på variationer i arealet kan betyde en fejl i forbindelse med omregning til volumen.
Variationer kan enten skyldes en mekanisk ændring i målerens foring, eller det kan referere til målerørets fyldningsgrad, f.eks. kan det være delvist fyldt, eller der kan være luft i mediet. I sidstnævnte tilfælde vil luftlommerne blive medregnet som var det produkt – og derfor resultere i en endog meget stor målefejl.
Det værste er dog, at det kan være endog meget vanskelligt at forudsige hvor stor målefejlen vil være i de enkelte installationer, da det oftest er en kombination af flere ”fejlkilder”, der optræder i den ”virkelige” verden.
Diagnose funktioner
Med den stigende computerkraft der i dag er stillet til rådighed i forbindelse med måleudstyr, er det blevet muligt at gennemføre en række nye diagnose funktioner, der kan hjælpe til med at verificere den aktuelle måling. Funktionerne benyttes til løbende at fortælle om flowmåleren påvirkes af nogle af de fejlkilder, der kan give anledning til en målefejl. Den kan ikke fortælle hvor stor målefejlen vil være, ”blot” at der er risiko for målefejl relateret til en af følgende procesparametre:
- Forkert installation
- Kavitation
- For høj medietemperatur
- Vacuum
- Forkert valg af elektrode-/foringsmateriale
- Slidtage grundet partikelindholdet i mediet
Forsættes næste tirsdag…






